Регулировка стояночного тормоза
Процесс регулировки стояночного тормоза зависит от конструкции рабочего тормоза задних колес. Для барабанного и дискового тормозов он различен.
Для барабанных тормозов - до середины 1995 г. выпуска
Регулировка стояночного тормоза обеспечивается механизмом самоустановки рабочего тормоза. Вытягивание троса привода тормоза может привести к увеличению хода рычага тормоза, что потребует соответствующей регулировки. Для установки тормозных колодок в исходное положение необходимо нажать на педаль тормоза так, чтобы механизм автоматической установки колодок больше не щелкал. Для проведения регулировки требуются два человека.
1. Поднимите и установите на подставки заднюю часть автомобиля.
2. Полностью отпустите стояночный тормоз.

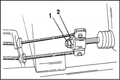
3. Ослабьте гайку (1) регулировочной тяги и затяните регулировочную гайку (2), чтобы натянуть трос. При этом тормозные колодки должны слегка касаться тормозного барабана, т.е. тормоз только начинает срабатывать.
4. Три-четыре раза взведите стояночный тормоз и проверьте, чтобы колеса были зажаты, если рычаг тормоза установлен на четвертом зубце сектора.
5. В этом положении затяните контргайку моментом 12 Нм.
6. Отпустите стояночный тормоз и проверните колеса. Они должны свободно вращаться. Проверьте вращение обоих колес, т.к. при вращении одного колеса другое может заедать.
7. Снова переместите рычаг стояночного тормоза на 4 зубца и проверьте, зажаты ли колеса.
8. Проведите проверку несколько раз, затягивая и отпуская тормоз.
9. Если регулировка проведена успешно, опустите автомобиль на землю.
10. Проверьте действие тормоза на уклоне.
Для дискового тормоза - с середины 1995 г. выпуска
Здесь регулируется зазор между тормозными колодками и дисковым барабаном с внутренней стороны барабана. Указанный зазор должен быть отрегулирован до регулировки натяжения троса привода.
1. Поднимите и установите на подставки заднюю часть автомобиля.

2. Выньте резиновую пробку из отверстия для регулировки с обратной стороны тормозного щита в месте, показанном на иллюстрации.
3. Вставьте в отверстие отвертку и переместите вниз колесико регулировочного болта так, чтобы тормозные колодки касались барабана.
4. Из этого положения, постепенно вращая колесико, приведите барабан в неподвижное состояние.
5. Поверните колесико регулировочного болта в обратном направлении так, чтобы барабан имел возможность начать проворачиваться. Обычно для этого необходимо отвернуть колесико на 7 - 8 зубцов назад.
6. В заключение проверните оба колеса, убедившись, что тормозные барабаны не зажаты колодками.
7. Отрегулируйте натяжение тросов привода стояночного тормоза описанным выше способом. Разница в данном случае заключается в том, что рычаг тормоза должен удерживать колеса при его положении между 5 и 7 зубцами сектора.
Для барабанных тормозов
Привод состоит из двух тросов, которые крепятся с одной стороны к тормозным колодкам задних тормозов и с другой стороны к уравнителю, расположенному под днищем автомобиля. Тросы заменяются в паре.
Снятие
1. Поднимите и установите на подставки заднюю часть автомобиля.
2. Измерьте линейкой длину выступающего резьбового конца регулировочной тяги.
3. Запишите размер и отверните регулировочную гайку.
4. Отсоедините оба троса от уравнителя.
5. Снимите тормозные колодки и отсоедините от них тросы, как описано выше.
6. Снимите плоскогубцами на каждом тросе пружинный зажим с обратной стороны тормозного щита (в точке прижима к щиту).
7. Отсоедините тросы от направляющих на полу и подвеске колес. Для этого возможно потребуется отогнуть держатели. Запомните схему прокладки тросов.
Установка
Установка тросов производится в последовательности, обратной снятию.
1. Проложите тросы.
2. Установите тормозные колодки в соответствии с описанием, приведенным в Разделе 3.
3. При сборке выдерживайте размер выступающей части регулировочной тяги, полученный ранее.
4. Отрегулируйте стояночный тормоз, как описано выше.
5. Опустите автомобиль на колеса.
6. Установите колеса и закрепите их.
При дисковых тормозах
Тросы заменяются аналогично приведенному выше описанию. Разница заключается в том, что здесь снимаются не тормозные барабаны, а дисковые.
Снятие
1. Измерьте выступающий резьбовой конец регулировочной тяги.
2. Отверните гайки и снимите уравнитель.
3. Отсоедините тросы от рычагов привода на суппортах.
4. Отсоедините тросы от направляющих на полу и кронштейне моста.
Установка
Установка дискового тормоза выполняется в последовательности, обратной снятию. Обратите внимание на правильную прокладку тросов.
1. Болты крепления держателей тросов затяните моментом 9 Нм.
2. Наверните регулировочные гайки, обеспечив полученный ранее размер.
3. Отрегулируйте тросы, как описано выше.

Комментарии посетителей